欢迎来到jinnian金年会核材B2B订单网,请登录

800px-25kV美式200A肘型插头.png
  • 800px-25kV美式200A肘型插头.png

25kV美式200A肘型插头

25kV美式200A肘型插头: 适用于25kV美式200A电气系统,广泛用于美式箱变、环网柜、电缆分支箱、地埋式变压器及其它电气设备的高压电气连接。与之相连的有:单通套管、双通套管、母排的200A接口等。

收藏商品

产品类别
  • 产品->电力电缆附件->1-35kV可分离连接器及配套产品
应用描述
  • 1-35kV可分离连接器及配套产品

产品特点

    为全绝缘、全密封、全屏蔽,紧压装置保证了其使用的可靠性,相对于其它配置,结构尺寸更紧凑。

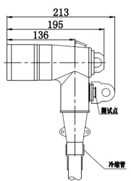
    测试点可安装带电显示器或故障指示器,以便显示设备的带电状态和故障状态。 

    导电杆连接头内有灭弧材料,可作为负荷开关开断200A电流,但不能切断故障电流。

    屏蔽型插头的内外屏设计使得电场结构更加优化,均匀外屏蔽层,接地电阻小于5000Ω,有效地使电缆头外表面保持零电位,确保维护操作人员人身安全。

    插头尾部与电缆之间用冷缩管收缩密封,有效地解决了电缆潮气入侵的问题,且安装方便。

型号:WAZT 25/200-□

电气性能

额定电压

25kV(15.2/26.3kV)

额定电流

200A

工频耐压(AC)

54kV/5min

局部放电

22.8kV,≤10pC

冲击电压(正负极性各10)

125kV

开断电流

26.3kV,200A,10次操作

屏蔽电阻

≤5000Ω

适用电缆截面

25-120mm2

注:该产品满足IEC 60502.4,IEEE-386GB/T   12706.4要求

结构尺寸

blob.png

产品型号说明

blob.png

主要配件

    插头外套、地线、验电点盖、压片、冷缩管、硅脂膏、恒力弹簧、清洁纸、异形螺栓和螺型螺母



关联产品
常购商品
为您推荐
公司简介|联系我们|网站地图|隐私声明|平台协议|快递查询

物料名称

物料编码

备注*